Chapter 7 图样画法
7.1视图
视图就是根据有关标准和规定,用正投影法所绘制出物体的图形,它主要用来表达物体的外形,必要时才用虚线表达其不可见部分。
视图通常有基本视图、向视图、局部视图和斜视图。
7.1.1基本视图和向视图
任何物体都有长、宽、高三个方向和前后、左右、上下六个侧面,与物体六个侧面平行的投影面称为基本投影面,物体向基本投影面投射所得到的视图称为基本视图。
将物体置于一六面体中,则概六面体的六个面即为基本投影面,将物体向六个基本投影面投射,就可得到六个基本投影面。
主视图:由前向后投射所得到的视图;
俯视图:由上向下投射所得到的视图;
左视图:由左向右投射所得到的视图;
右视图:由右向左投射所得到的视图;
仰视图:由下向上投射所得到的视图;
后视图:由后向前投射所得到的视图;
7.1.2向视图
向视图是可以自由配置的基本视图。
为了便于读图,应在向视图的上方用大写拉丁字母标出该向视图的名称(如“A”、“B”等),且在相应的视图附近用箭头指明投射方向,并注上同样的字母,如图所示。
画物体的某个视图时,如果其上的某个结构在其他视图中已表达清楚,则在该视图中额细虚线可省略不画;反之,若该结构在其他图形中不能确定或表达不清楚时,则细虚线不能省略。
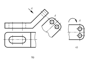
7.1.3局部视图
将机件的某一部分向基本投影面投射所得的视图称为局部视图。
局部视图适用于当机件的主体形状已由一组基本视图表达清楚,当采用一定数量的基本视图后,该机件上所有部分结构尚需表达,而又没有必要再画出完整的基本视图时,可采用局部剖视图。如图所示的机件,用主、俯两个基本视图已清楚地表达了主体形状,但为了表达左、右两个凸缘形状,再增加左视图和右视图,就显得繁琐和重复,此时可采用两个局部视图,只画出所需表达的左、右凸缘形状,则表达方案既简练又突出了重点。

有时,为了节省绘图时间和图幅,将对称结构物体的视图只画一半或四分之一,并在对称中心线的两端画出两条与其垂直的平行细实线(对称符号)。
采用局部视图时要注意:
(1)局部视图可按基本视图的配置形式配置;也可按向视图的配置形式配置并标注。
(2)局部视图的断裂边界线用波浪线或双折线绘制;当所表示的局部视图的外轮廓成封闭时,则不必画出其断裂边界线。当只画一半或四分之一视图时,断裂边界线应为细点画线,且应画上对称符号。
7.1.4斜视图
将物体向不平行基本投影面的平面投射所得的视图,称为斜视图。
当机件上有倾斜于基本投影面的结构时,为了表达倾斜部分的实形,可设置一个与倾斜结构平行且垂直于一个基本投影面的辅助投影面,然后将该倾斜结构向辅助投影面投射并展平,所得的视图称为斜视图,如图所示。

画斜视图时应注意:
(1)斜视图主要用来表达物体上倾斜部分的实形,所以其余部分不必全部画出,而采用波浪线或双折线断开。
当所表示物体的倾斜结构是完整的、且外形轮廓线封闭时,波浪线可省略不画。
(2)斜视图必须进行标注,其标注方法是:在斜视图上方标出视图的名称“×”,并在相应的视图附近用箭头和字母“×”指明投射方向。斜视图上方的名称和字母应正写。
(3)斜视图一般按投影关系配置,必要时可平移。为了画图方便,在不至引起误解时,也允许将图形旋转,但应注明“?×”。
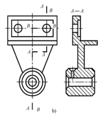
7.2剖视图
当物体有内部结构时,在视图中只能用细虚线来表达,若视图中的细虚线过多,则会影响物体表达的清晰程度,给读图和标注尺寸带来不便。为此,国家标准给出了物体内部结构及形状表达的方法:剖视图和断面图。
7.2.1 剖视图的基本概念
1,剖视图的形成
假想用剖切面剖开机件,将处在观察者和剖切面之间的部分移开,而将剩余部分向投影面投射所得的图形,称为剖视图,简称剖视。
用于剖切被表达物体的假想平面或曲线称为剖切面;
剖切面与物体的接触部分称为剖面区域;
指示剖切面位置的线称为剖切线;
指示剖切面起、止和转折位置及投射方向的符号称为剖切符号。
|
|
|
|
7.2.2剖视图的画法及标注
影响剖视图绘制的三要素
从剖视图的形成过程可见,任何一个剖视图都将受到剖切面的种类、剖切面的位置及剖切范围三个要素的影响。
剖切面的种类:可分为单一剖切面、几个平行的剖切面、几个相交的剖切面。
剖切面的位置:可分为平行于基本投影面,不平行于基本投影面;如相对于物体自身,则还有经过物体对称面和不经过物体对称面之分。
剖切范围:可分为完全剖开或部分剖开,而部分剖开又可再分为以对称中心线为界的剖开一半和剖开局部。
剖面符号。剖视图中,剖面区域一般应画出剖面符号,以区分机件上被剖切到的实体部分和未剖切到的空心部分。
不需要在剖面区域中表示材料的类别时,可采用通用剖面线表示。通用剖面线应以适当角度的细实现绘制,最好与注要轮廓线或剖面区域的对称线成45°角。若需要在剖面区域中表示材料的类别时,应采用特定的剖面符号表示。特定的剖面符号的分类结构示例如图所示。
固体材料 | 液体材料 | 气体材料 | |||
|
| ???? | |||
金属材料/普通砖
| 非金属材料(除普通砖)
|
|
| ||
1.剖视图的画图方法及步骤
(1)形体分析
(2)确定剖切面的种类、位置及剖切范围
(3)画剖视图
(4)画剖面符号
(5)剖视图的标注
在下列情况下,剖视图可省略标注:
A, 当剖视图按投影关系配置、中间没有其他图形隔开时,可省略箭头。
B, 当单一剖切平面、平行于基本投影面、通过物体的对称平面或基本对称平面、且剖视图按投影关系配置、中间又无其他图形隔开时不必标注。
2,画剖视图的注意事项
(1)由于剖切是假想的,所以当物体的一个视图画成剖视后,其他视图的完整性不受影响,仍应完整地画出。
(2)画剖视图的目的在于清楚地表达内部结构的实形,因此,剖切平面应尽量通过较多的内部结构的轴线或对称平面,并平行于某一投影面。
(3)位于剖切平面之后的可见部分应全部画出,避免漏线、错线。
(4)对于剖切平面之后的不可见部分,若在其他视图上已表达清楚,则细虚线可省略,即在一半情况下剖视图中不画细虚线。
7.2.3 剖视图的分类
1,剖视图的种类
根据国家标准的规定,剖视图按剖切范围可分为:全剖视图,半剖视图和局部剖视图。
(1)全剖视图
用剖切面完全剖开机件所获得的剖视图,称为全剖视图。
全剖视图主要用于内形需要表达,而外形简单或外形在其他视图中已表达清楚的物体.
由于全剖视图是将机件完全剖开,机件外形的投影受影响,因此,全剖视图一般适用于外形简单、内部形状较复杂的机件。

(2)半剖视图
当机件具有对称平面时,向垂直于对称平面的投影面上投射所得的图形,允许以对称中心线为界,一半画成剖视图,另一半画成视图,这样获得的剖视图称为半剖视图。
半剖视图主要用于内外形状都需要表达、结构对称的机件。半剖视图能在同一视图上兼顾表达物体的内﹑外结构,适用于内外结构都需要表达且具有对称平面的物体.

画半剖视图应注意:
A,半个视图和半个剖视图的分界线是对称中心线(细点划线),不能画成粗实线。
B,轮廓线与对称中心线重合的物体不宜采用半剖视。
C,由于图形对称,物体的内形在半个剖视图中已表示清楚,因此在表达外形的半个剖视图中不必再画出相应的细虚线。
D,标注半个剖视图的尺寸时,尺寸线一端画出箭头并指到尺寸界限,而另一端只要略超出对称中心线即可,不画箭头。
(3)局部剖视图
用剖切面局部地(非一半的局部)剖开物体所得的剖视图,称为局部剖视图。
局部剖视图适用于物体仅有局部的内形需要表达,不宜采用全剖,也不能采用半剖的情况。
画局部剖视图应注意:
A, 局部剖视图用波浪线或双折线与视图分界,可看成是剖切物体裂痕的投影。波浪线不能超出视图的轮廓线,也不能与视图上其他图线重合或画在轮廓线的延长线上,遇孔、槽等空心结构不能穿空而过。
B,局部剖视图是一种比较灵活的表达方法,其剖切位置和范围可根据需要而定,若运用得当,可使图形简明清晰,但在一个视图中局部剖视图的数量不宜过多,以免使图形显得支离破碎。


7.2.4剖切面的种类
(1)单一的剖切面
A,平行于基本投影面的单一剖切面。
B,不平行于基本投影面的单一剖切面。
(2)几个平行的剖切平面
当机件上具有几种不同的结构要素(如孔、槽等),它们的中心线排列在几个互相平行的平面上时,宜采用几个平行的剖切面剖切, 如图所示。

画这种剖视图的时应该注意:
A,因为剖切是假想的,所以在剖视图上不应画出剖切平面转折处的界限。
B,剖切平面的转折处不应与图中的轮廓线重合。
C,在剖视图上,不应出现不完整的结构,相同的内部结构只需剖切一处即可。
(3)几个相交的剖切平面
用两个相交的剖切面(交线垂直于某一基本投影面)剖开机件,以表达具有回转轴机件的内部形状。此时,两剖切面的交线应与回转轴重合,如图所示。用这种方法画剖视图时,应先将被剖切面剖开的断面旋转到与选定的基本投影面平行,然后再进行投射。
应注意的是,凡在剖切面后,没有被剖到的结构,仍按原来的位置投射。如图所示机件上的小圆孔,其俯视图即是按原来位置投射画出的。
画这种剖视图时应注意:
A, 两剖切平面的交线要与物体的回转轴线重合。
B, 位于剖切平面后的其他结构仍按原来的位置进行投影。


7.3断面图
7.3.1 断面图的概念
假想用剖切平面将物体的某处切断,仅画出该剖切面与物体接触部分的图形叫断面图。断面图可以简称为断面。断面可分为移出断面和重合断面。

7.3.2移出断面图
画在视图范围以外的断面称为移出断面。移出断面图应尽量画在剖切线的延长线上,其轮廓线用粗实线绘制。
(1)画移出断面应注意:
1)当断面图图形对称时,可画在视图的中断处。
2)当剖切平面通过回转面形成的孔或凹坑的轴线时,这些结构应按剖视绘制。
3)当剖切平面通过非圆孔,会导致出现分离的两个断面时,这些结构应按剖视绘制。
4)由两个或多个相交的剖切平面剖切得到的移出断面图,中间一般应断开。


7.3.3重合断面图
画在视图内的断面图称为重合断面。重合断面图的轮廓线用细实线绘制。当视图中的轮廓线与重合断面的轮廓线重合时,视图中的轮廓线(粗实线)仍应画出,不可间断。


7.4简化画法及局部放大图
7.4.1 常用简化画法
为了使制图简便,下面介绍国标所规定的一部分简化画法。
(1)剖视、断面图中的简化画法

①对于机件的肋、轮辐及薄壁等,如按纵向剖切,这些结构都不画剖面符号,而用粗实线将它与其邻接部分分开。
当机件回转体上均匀分布的肋、轮辐、孔等结构不处于剖切平面上时,可将这些结构旋转到剖切平面上画出,并且不必标注。

② 圆柱形法兰和类似机件上均匀分布的孔(由机件外向该法兰端面方向投影)。
③ 在不引起误解时、过渡线、相贯线,允许简化,如用圆或直线代替非圆曲线。
④ 当图形不能充分表达平面时,可用两条相交的细实线所画的平面符号表示,

(2)对相同结构和小结构的简化
①当机件具有若干相同结构(如齿槽)并按一定规律分布时,只需画出几个完整的结构,其余用细实线连接,但必须在图中注出该结构的总数。
②直径相同且成规律分布的孔(螺孔、沉孔等),可仅画出一个或几个,其余的只需用细点画线表示其中心位置,且应注明孔的总数。

(3)图形的简化画法
① 在不致引起误解时,对于对称机件的视图,可只画一半或四分之一,并在对称中心线的两端画出对称符号,即与对称中心线垂直的两条短平行细实线。

② 在较长的机件(轴、杆、型材、连杆等)沿长度方向的形状一致或按一定规律变化时,可断开后缩短绘制,但要标注实际的长度尺寸。

7.4.2局部放大图
将机件的部分结构用大于原图形所采用比例画出的图形,称为局部放大图.
当机件上的某一细小结构表达不清楚或难于标注尺寸时,可以将机件的部分结构用大于原图形所采用的比例画出,此图形称为局部放大图。局部放大图可画成视图、剖视图、断面图,它与被放大部分的原表达方式无关。局部放大图应放置在被放大部分的附近。

绘制局部放大图时,应用细实线圈出被放大部位,当同一机件上有几个被放大部分时,必须用罗马数字依次标出被放大的部位,并在局部放大图的上方标注出相应的罗马数字和所采用的比例,用细横线上下分开标出。而机件上只有一处放大时,局部放大图只须注明所作的比例。